HK-5B-II型小車是適用于間斷或者連續的水平角焊結構的雙面焊接自動裝置。焊接/非焊接區間的實際距離顯示屏上,用扳動開關的上下調節,設定焊接與非焊接的距離,焊接與非焊接的距離是用電機與控制器控制,尺寸的精密度高,運行速度均勻,可實現精密焊接。非焊接狀態下的小車行走速度為最大值(1900mm./min)。手柄為磁控式,移動此手柄可以部分的減少磁力,便于清理鐵質垃圾和移動小車。設有收弧裝置,收弧時間調節范圍在0-7 S。可以向左右兩方向焊接;小車兩端安裝有感應停止開關,焊接結束后小車可以自動停止,便于一個工人同時操縱多臺設備。安裝有永久磁鐵,避免小車脫離焊接線的現象。焊槍支架長度和高度可以根據工件形狀進行調節,使用方便體積小、重量輕,移動和安裝都很方便。

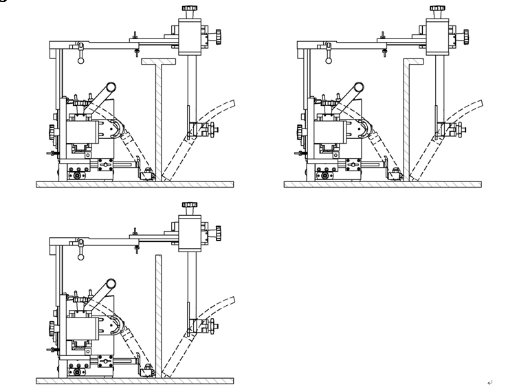
1.小車本體:由X-Y滑塊,導向輪,焊槍夾具感應開關停止開關,磁控手柄,控制箱等部件組
成。感應停止開關:焊接到工件末端時被觸動后小車自動停止工作;磁鐵:安裝有永久磁鐵,
避免了小車脫離焊接接線的現象;磁控手柄:方便小車的安裝與拆卸。
2.驅動部分:是驅動小車的裝置,以四個橡膠輪,錐齒輪,鏈條,鏈輪組成。
3.焊槍1 X-Y調整滑塊:調節焊槍1位置的裝置,焊接當中可以進行上下左右的微調。
4.升降桿
5.焊槍2 X-Y調整滑塊:調節焊槍2位置的裝置,焊接當中可以進行上下左右的微調。
6.焊槍1夾緊裝置:固定焊槍的裝置,為了方便檢查及調整焊槍的設施,設計制作采用可拆卸
式。
7.手提手柄:
8. 控制箱:可以調節小車的所有動作,詳細內容參考“控制面板說明”
9. 感應停止開關:焊接到工件末端時被觸動后小車自動停止工作;
10.導輪部分:沿著焊接工件行走,準確引導焊接部位。
11.焊槍2夾緊裝置:固定焊槍的裝置,為了方便檢查及調整焊槍的設施,設計制作采用可拆
卸式。

主要技術參數
|
型號 |
HK-5B-II(雙面自動焊接小車) |
|
|
機身外形尺寸 |
500mm×290mm×420mm |
|
|
輸入電壓 |
DC24V |
|
|
重量 |
10Kg |
|
|
焊槍調整范圍 |
上下:40mm |
作業角:±45° |
|
前后:40mm |
進行角:±10° |
|
|
焊接速度 |
150~1900mm/min(以數碼管顯示) |
|
|
驅動方式 |
橡膠四輪驅動 |
|
|
操作功能 |
1. No.1焊接/非焊接選擇 |
6. No.2焊接/非焊接 |
|
2. 行走開始 |
7. 行走停止 |
|
|
3. 選擇行走方向(左和右) |
8. 調節行走速度(以數碼管顯示) |
|
|
4. 連續焊接時間設置 |
9. 休止距離設置 |
|
|
5. 斷續焊接距離設置 |
10.收弧時間設置( 0~3.5 S) |
|
裝箱清單
用戶收到包裝箱后,將裝置小心地從包裝箱中取出。首先,應對照以下清單核對箱中部件是否齊全。以下為標準裝箱清單。
|
1. |
主機 |
1臺 |
|
2. |
DC24V穩壓電源 |
1只 |
|
3. |
標準電源線 220V/20M |
1根 |
|
4. |
2P焊槍控制線500mm |
1根 |
|
5. |
保險絲 2A |
2只 |
|
6. |
內六角扳手 |
1套 |
|
7. |
說明書,合格證 |
各1份 |
焊接參數
|
焊絲直徑 焊接參數 |
Φ1.2mm |
Φ1.4mm |
Φ1.6mm |
|
|
電流(A) |
平焊 |
120-300 |
150-380 |
180-430 |
|
平角焊 |
120-280 |
150-320 |
180-380 |
|
|
橫焊 |
120-280 |
150-300 |
180-330 |
|
|
電壓(U) |
1300A時 U=14+0.051 2300A以下時U=0.041+16±1.50 3300A以上時U=0.041+20±2.0 |
|||
|
噴嘴與工件間的距離(H) |
1200A以下時 H=10~15mm 2200~350A時 H=15~20mm 3350~500A時 H=20~25mm |
|||
|
焊絲伸出長度(L) |
一般取焊絲直徑的10倍左右,即L=10d |
|||